|
Atención: Antes de la limpieza desconectar la máquina quitando el enchufe de la red eléctrica. |
|
![]() |
Quitar la placa de aguja (A): Girar el volante (21) hasta que la aguja esté en el punto más alto. Abrir la tapa frontal con charnela y sacar el tornillo de la placa de aguja (8) con el destornillador en L (l). |
![]() |
Limpieza del gancho (B): Sacar la caja de bobina. Limpiar bien toda la zona con el pincel (o) entregado. |
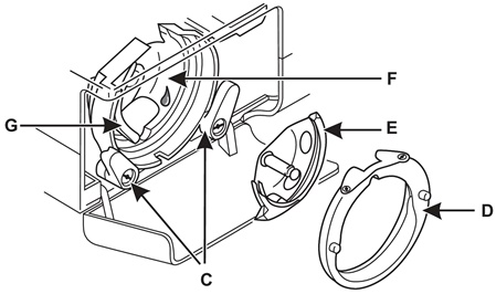
![]() |
Limpieza y aceitado del gancho (C-G): Sacar la caja de bobina. Girar los dos gatillos de sujeción (C) hacia afuera como se muestra en la ilustración. Sacar la tapa del carril (D) y el gancho (E). Limpiar todo con un paño suave. Poner 1-2 gotas de aceite de máquina de coser (i) en la zona indicada (F). Girar el volante hasta que el carril del gancho (G) esté a la izquierda. Poner nuevamente el gancho (E) y cerrar de nuevo los dos gatillos de sujeción (C). Meter de nuevo la caja de bobina y la placa de aguja. |
|
Importante: Para que su máquina de coser esté siempre en buenas condiciones, debe quitar de vez en cuando los residuos de hilo y el polvo. |
|




